欢迎来到 [ 永利yl23411集团官网 ] 官网! 主要生产冷凝结晶切片机,转鼓结片机,刮片机,制片机
冷凝结晶切片机系列
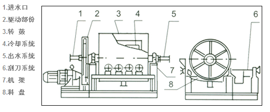
冷凝结晶切片机的性能及特点
       1、进料方式有3种:分上进料、后进料、下进料。针对化工物料的特性,有单转鼓式和双转鼓式。
       2、料槽保温有蒸汽保温,导热油循环保温,电加热保温。
       3、设备分敞开式及半封闭式,全封闭式,抽真空式,氮气保护式。
       4、刀片材质有,黄铜,磷青铜,尼龙,胶木,合金钢锯条。
       5、出料系统有单出,双出等。
       6、特殊要求:料的规则形状与大小,可保证料的片厚及大小均匀度。
       7、冷却或(加热)系统有分夹套式或喷淋式,按切片机的大小规格及物料的特性来设计,可提高换热效率及增加转鼓强度,并提高相对产品的产量。
       8、冷却水采用填料密封或旋转接头,能可靠的防止水泄漏,并应用了新的流程,降低了冷却水的消耗量。
       9、转鼓两端均有隔热层及侧面刮刀,转鼓两端不结料,因而转鼓两端没有摩擦功耗,消除了因端面结料而启动不稳定的问题。
永利yl23411集团官网
设备特点
※ 性能水平高 ※ 无级变速,转鼓转速可调
※ 设有侧刮刀,避免转鼓侧端积料 ※ 转鼓精度高
※ 设备结构紧凑,占地面积小 ※ 适应范围广,操作简便、灵活
※ 半管夹套式料盘,安全可靠 ※ 采用多组刮刀,调节灵活
※ 喷淋水冷却,冷却效果好 ※ 多功能,既可结片又可干燥

结晶切片机规格型号
转鼓规格
mm
电机功率
KW
切片转速 r/min
变频控制
参考外形尺寸mm
L W H
500×500 2.2 2-12 1500 600 1000
600×600 2.2 2-12 1600 700 1200
700×700 2.2-3 2-12 1700 800 1400
800×800 3-4 2-12 1800 900 1450
900×900 3-4 2-12 2000 1000 1550
1000×1000 4-5.5 2-12 2200 1100 1700
1200×1200 4-5.5 2-12 2400 1300 1900
1200×1500 5.5-7.5 2-12 2800 1300 1900
1500×1500 5.5-7.5 2-12 2800 1600 2100
1500×1800 7.5-11 2-12 3100 1600 2100
1500×2000 7.5-11 2-12 3300 1600 2100
2000×2000 11-15KW 2-12 3300 2100 2500
1500×3000 11-15KW 2-12 4800 1600 2200
2000×3000 15-21KW 2-12 4800 2100 2500